- Réf. PPSR320_10
- ReferenzPPSR320_10
- Herstellungfrançaise
- MarkeSIMPSON Strong-Tie
- Dicke4mm
- MaterialStahl S253JR gemäß DIN EN 10025
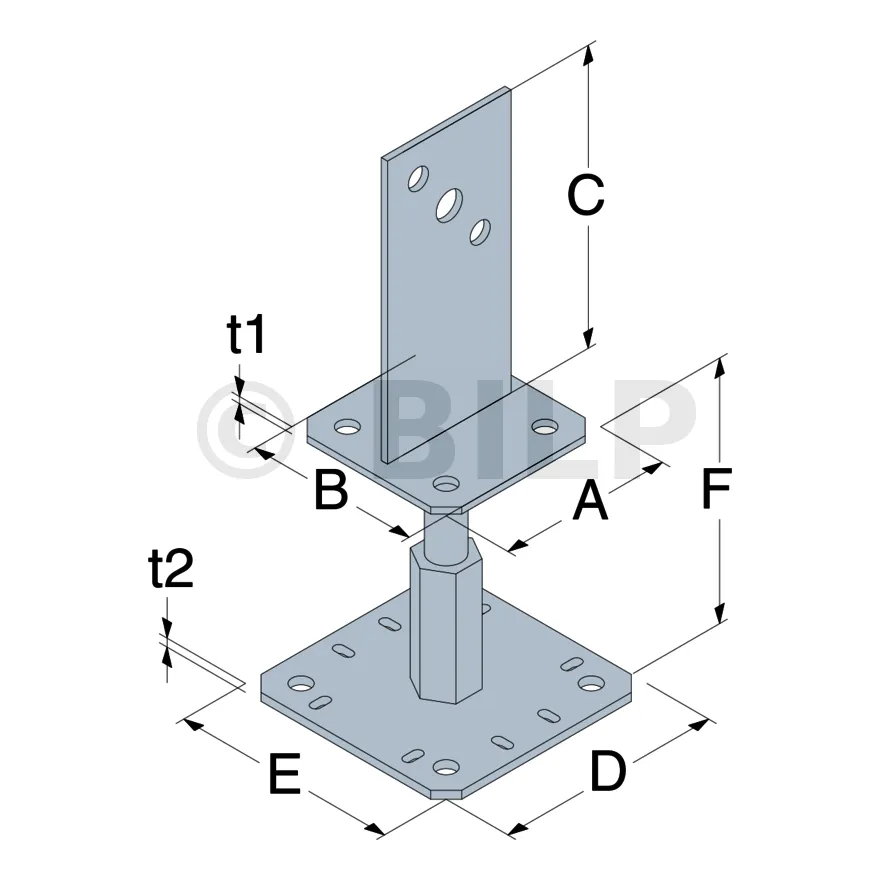
- Breite (B)100mm
- Breite (D)130mm
- Breite (E)130mm
- Bohrungen der Kopfplatte2Ø13
- Bohrungen der Bodenplatte4Ø12
- Holzverbindung auf starrem TrägerSur poteau : 2 STD12 ; sur béton : 4Ø10 (goujons WA M10 ; tige filetée M10) ; sur acier : boulons
- Maximal zulässige Belastung in Druckrichtung2.34 Tonnen
- Höhe (F)100-150mm
Pfostenträger im Steg mit Platte – PPSR
Die inneren Kernsäulenbasen vom Typ PPSR ermöglichen die Erstellung diskreter und zuverlässiger Baugruppen. Ihre Kernkonstruktion sorgt für eine gute Lastaufnahme beim Heben.
Merkmale
Gegenstand
- S253JR-Stahl gemäß NF EN 10025.
- Schillernde gelbe elektroverzinkte Oberfläche (ohne Chrom VI) gemäß NF EN ISO 2081.
- Dicke 4 mm.
Vorteile
- Kann nach der Installation angepasst werden,
- Ermöglicht die Wiederaufnahme der Hebebemühungen
Anwendungen
Unterstützung
- Carrier: Holz, Beton, Stahl (Pfosten 200 x 200 maxi).
- Portiert: Massivholz, Verbundholz, Brettschichtholz.
Einsatzbereiche
- Markise,
- Pergola,
- Veranda,
- Terrasse,
- Konsole...
Technische Daten
Abmessungen
| Referenzen | Abmessungen [mm] | Hohe Plattenlöcher | Platin-Löcher Bass | ||||||||||||
|---|---|---|---|---|---|---|---|---|---|---|---|---|---|---|---|
| A | B | C | D | E | F | G | H | t1 | t2 | Ø12[mm] | Ø13[mm] | Ø17[mm] | Ø6x12[mm] | Ø12[mm] | |
| PPSR320 | 100 | 100 | 170 | 130 | 130 | 100-150 | 30 | 80 | 4 | 5 | 4 | 2 | 1 | 8 | 4 |
Merkmalswerte
| Referenzen | Kennwerte - Holzverbindung auf starrem Träger | ||||||
|---|---|---|---|---|---|---|---|
| Befestigungen | Charakteristische Werte – Holz C24 [kN] | ||||||
| Auf Pfosten | Auf Beton | R1.k | R2.k | ||||
| Menge | Typ | Menge | Typ | 1 x STD16 | 2 x STD12 | ||
| PPSR320 | 1-2 | STD | 4 | Ø10* | 51,1/kmod^0,5 | min(29,5;20,9/kmod) | 20,9/kmod |
*Informationen zur Auswahl des geeigneten Ankers finden Sie im Simpson Strong-Tie-Ankersortiment. Abhängig von der Betonart, dem Achsabstand und den Randabständen müssen Standardlösungen gewählt werden.
Vereinfachte Kennwerte
| Referenzen | Vereinfachte Kennwerte - Holzverbindung auf starrem Träger | ||||||
|---|---|---|---|---|---|---|---|
| Befestigungen | Vereinfachte Kennwerte – Holz C24 [kN] | ||||||
| Auf dem Posten | Auf Beton | R1.k | R2.k | ||||
| Menge | Typ | Menge | Typ | 1 x STD16 | 2 x STD12 | ||
| PPSR320 | 1-2 | STD | 4 | Ø10** | 61.07 | 29.5 | 29.8 |
* Bei den in der obigen Tabelle angegebenen Kennwerten handelt es sich um vereinfachte Werte, die auf der Annahme von Belastungsdauer und Nutzungsklasse basieren (mittelfristige Belastungs- und Nutzungsklasse 3, kmod = 0,7 nach EC5 (EN1995)). Weitere Ladezeiten und Serviceklassen finden Sie unter ETE-07/0285.
** Informationen zur Auswahl des richtigen Ankers finden Sie im Simpson Strong-Tie-Ankersortiment. Abhängig von der Betonart, dem Achsabstand und den Randabständen müssen Standardlösungen gewählt werden.
Durchführung
Befestigungen
Auf Holz:
Auf Beton:
- Mechanischer Anker: Bolzen FM 753 EVO M10x78/5 ou alternative FM-753 M10x75/5 3DG (Beschichtung für den Außenbereich geeignet),
- Chemischer Anker: Harz AT-HP + Gewindestange LMAS M12-150/35.
Auf Stahl:
Einrichtung
Oberteil:
1. Machen Sie eine vertikale Kerbe im Kern des Pfostens (Breite abhängig von der Dicke des Kerns).
2. Identifizieren Sie die Position der Stifte (oder Bolzen) an den Seiten des Pfostens
3. Bohren Sie quer in den Pfosten, um die Stifte einzusetzen. (Bohrdurchmesser abhängig vom Spindeldurchmesser)
4. Positionieren Sie die Basis des Pfostens im Steg und setzen Sie die Stifte ein.
Unterteil:
1. Befestigen Sie den Pfostenfuß am Pfosten.
2. Bohren Sie die Stütze vertikal auf den empfohlenen Durchmesser und die empfohlene Tiefe.
3. Positionieren Sie den Pfosten und schließen Sie die Befestigung am Boden mit Hilfe von Dichtungen ab.
4. Der Pfostenfuß kann beim Gießen auch in den Beton eingebettet werden.
SIMPSON Strong-Tie
Beispiellose Zuverlässigkeit und Service
Seit seiner Gründung in Europa im Jahr 1994 hat sich Simpson Strong-Tie dank seines anerkannten Know-hows und seiner geprüften Produktqualität zu einem zuverlässigen Wert im Bereich der Verbindungstechnik entwickelt. Dank jahrelanger Erfahrung sind Sicherheit, Zuverlässigkeit und die Einhaltung von Vorschriften eine ständige Verpflichtung.

















